Rear Suspension for 1996 Toyota Paseo
Vehicle
1996 Toyota Paseo
Change Vehicle
- Bumper & Components - Front
- Bumper & Components - Rear
- Center Console
- Cluster & Switches
- Cowl
- Door
- Door & Components
- Doors
- Exterior Trim - Door
- Exterior Trim - Roof
- Exterior Trim - Trunk
- Fender & Components
- Floor & Rails
- Front Door
- Front Seat Components
- Fuel Door
- Glass - Door
- Glass - Windshield
- Glass & Hardware
- Glass & Hardware - Back
- Hardware, Fasteners & Fittings
- Hinge Pillar
- Hood & Components
- Inner Structure
- Instrument Panel
- Interior Trim - Door
- Interior Trim - Pillars
- Interior Trim - Quarter Panels
- Interior Trim - Rear Body
- Interior Trim - Roof
- Labels
- Lid & Components
- Lock & Hardware
- Outside Mirrors
- Quarter Panel
- Quarter Panel & Components
- Rear Body
- Rear Door
- Rear Floor & Rails
- Rear Seat Components
- Reveal Moldings
- Rocker Panel
- Roof & Components
- Seat Belt
- Sound System
- Spoiler
- Structural Components & Rails
- Sunroof
- Tracks & Components
- Trunk
- Wiper & Washer Components
- ABS Components
- Air Bag Components
- Air Bag System
- Alternator
- Alternator/Generator & Related Components
- Antenna & Radio
- Anti-Theft Components
- Battery
- Battery & Related Components
- Bulbs - Chassis
- Combination Tail Lamps
- Cruise Control System
- Distributor
- Door
- Electrical Components
- Flasher Units, Fuses, & Circuit Breakers
- Flashers
- Front Door
- Front Seat Belts
- Gauges
- Glass, Windows & Related Components
- Headlamp Components
- High Mounted Stop Lamp
- Horn
- Ignition Lock
- Ignition System
- Instruments & Gauges
- License Lamps
- Power Outlets
- Powertrain Control
- Rear Seat Belts
- Relays
- Senders
- Sensors
- Signal Lamps
- Starter
- Starter & Related Components
- Switches
- Switches, Solenoids & Actuators
- Voltage Regulator
- Window Defroster
- Wipers
- A/C Accumulator/Receiver Drier
- A/C Clutch & Compressor
- A/C Condenser & Evaporator
- A/C Flow Restrictors
- Blower Motor & Fan
- Condenser Fan
- Condenser, Compressor & Lines
- Controls
- Evaporator Components
- Heater
- Heater Components
- Hoses & Pipes
- Motors, Core, Case & Related Components
- Switches & Sensors
- Switches, Solenoids & Actuators
- Bushings
- Hardware, Fasteners & Fittings
- Housing & Components
- P/S Pump & Hoses
- Power Steering Hoses, Pumps, & Related Components
- Pump & Hoses
- Shaft & Internal Components
- Shroud, Switches & Levers
- Steering Column
- Steering Gear & Linkage
- Steering Wheel
- Steering Wheel & Trim
- Steering, Gear & Related Components
- Bumper & Components - Front
- Bumper & Components - Rear
- Center Console
- Cluster & Switches
- Cowl
- Door
- Door & Components
- Doors
- Exterior Trim - Door
- Exterior Trim - Roof
- Exterior Trim - Trunk
- Fender & Components
- Floor & Rails
- Front Door
- Front Seat Components
- Fuel Door
- Glass - Door
- Glass - Windshield
- Glass & Hardware
- Glass & Hardware - Back
- Hardware, Fasteners & Fittings
- Hinge Pillar
- Hood & Components
- Inner Structure
- Instrument Panel
- Interior Trim - Door
- Interior Trim - Pillars
- Interior Trim - Quarter Panels
- Interior Trim - Rear Body
- Interior Trim - Roof
- Labels
- Lid & Components
- Lock & Hardware
- Outside Mirrors
- Quarter Panel
- Quarter Panel & Components
- Rear Body
- Rear Door
- Rear Floor & Rails
- Rear Seat Components
- Reveal Moldings
- Rocker Panel
- Roof & Components
- Seat Belt
- Sound System
- Spoiler
- Structural Components & Rails
- Sunroof
- Tracks & Components
- Trunk
- Wiper & Washer Components
- ABS Components
- Air Bag Components
- Air Bag System
- Alternator
- Alternator/Generator & Related Components
- Antenna & Radio
- Anti-Theft Components
- Battery
- Battery & Related Components
- Bulbs - Chassis
- Combination Tail Lamps
- Cruise Control System
- Distributor
- Door
- Electrical Components
- Flasher Units, Fuses, & Circuit Breakers
- Flashers
- Front Door
- Front Seat Belts
- Gauges
- Glass, Windows & Related Components
- Headlamp Components
- High Mounted Stop Lamp
- Horn
- Ignition Lock
- Ignition System
- Instruments & Gauges
- License Lamps
- Power Outlets
- Powertrain Control
- Rear Seat Belts
- Relays
- Senders
- Sensors
- Signal Lamps
- Starter
- Starter & Related Components
- Switches
- Switches, Solenoids & Actuators
- Voltage Regulator
- Window Defroster
- Wipers
- A/C Accumulator/Receiver Drier
- A/C Clutch & Compressor
- A/C Condenser & Evaporator
- A/C Flow Restrictors
- Blower Motor & Fan
- Condenser Fan
- Condenser, Compressor & Lines
- Controls
- Evaporator Components
- Heater
- Heater Components
- Hoses & Pipes
- Motors, Core, Case & Related Components
- Switches & Sensors
- Switches, Solenoids & Actuators
- Bushings
- Hardware, Fasteners & Fittings
- Housing & Components
- P/S Pump & Hoses
- Power Steering Hoses, Pumps, & Related Components
- Pump & Hoses
- Shaft & Internal Components
- Shroud, Switches & Levers
- Steering Column
- Steering Gear & Linkage
- Steering Wheel
- Steering Wheel & Trim
- Steering, Gear & Related Components
Browse Categories
Select category
- Bumper & Components - Front
- Bumper & Components - Rear
- Center Console
- Cluster & Switches
- Cowl
- Door
- Door & Components
- Doors
- Exterior Trim - Door
- Exterior Trim - Roof
- Exterior Trim - Trunk
- Fender & Components
- Floor & Rails
- Front Door
- Front Seat Components
- Fuel Door
- Glass - Door
- Glass - Windshield
- Glass & Hardware
- Glass & Hardware - Back
- Hardware, Fasteners & Fittings
- Hinge Pillar
- Hood & Components
- Inner Structure
- Instrument Panel
- Interior Trim - Door
- Interior Trim - Pillars
- Interior Trim - Quarter Panels
- Interior Trim - Rear Body
- Interior Trim - Roof
- Labels
- Lid & Components
- Lock & Hardware
- Outside Mirrors
- Quarter Panel
- Quarter Panel & Components
- Rear Body
- Rear Door
- Rear Floor & Rails
- Rear Seat Components
- Reveal Moldings
- Rocker Panel
- Roof & Components
- Seat Belt
- Sound System
- Spoiler
- Structural Components & Rails
- Sunroof
- Tracks & Components
- Trunk
- Wiper & Washer Components
- ABS Components
- Air Bag Components
- Air Bag System
- Alternator
- Alternator/Generator & Related Components
- Antenna & Radio
- Anti-Theft Components
- Battery
- Battery & Related Components
- Bulbs - Chassis
- Combination Tail Lamps
- Cruise Control System
- Distributor
- Door
- Electrical Components
- Flasher Units, Fuses, & Circuit Breakers
- Flashers
- Front Door
- Front Seat Belts
- Gauges
- Glass, Windows & Related Components
- Headlamp Components
- High Mounted Stop Lamp
- Horn
- Ignition Lock
- Ignition System
- Instruments & Gauges
- License Lamps
- Power Outlets
- Powertrain Control
- Rear Seat Belts
- Relays
- Senders
- Sensors
- Signal Lamps
- Starter
- Starter & Related Components
- Switches
- Switches, Solenoids & Actuators
- Voltage Regulator
- Window Defroster
- Wipers
- A/C Accumulator/Receiver Drier
- A/C Clutch & Compressor
- A/C Condenser & Evaporator
- A/C Flow Restrictors
- Blower Motor & Fan
- Condenser Fan
- Condenser, Compressor & Lines
- Controls
- Evaporator Components
- Heater
- Heater Components
- Hoses & Pipes
- Motors, Core, Case & Related Components
- Switches & Sensors
- Switches, Solenoids & Actuators
- Bushings
- Hardware, Fasteners & Fittings
- Housing & Components
- P/S Pump & Hoses
- Power Steering Hoses, Pumps, & Related Components
- Pump & Hoses
- Shaft & Internal Components
- Shroud, Switches & Levers
- Steering Column
- Steering Gear & Linkage
- Steering Wheel
- Steering Wheel & Trim
- Steering, Gear & Related Components
- Bumper & Components - Front
- Bumper & Components - Rear
- Center Console
- Cluster & Switches
- Cowl
- Door
- Door & Components
- Doors
- Exterior Trim - Door
- Exterior Trim - Roof
- Exterior Trim - Trunk
- Fender & Components
- Floor & Rails
- Front Door
- Front Seat Components
- Fuel Door
- Glass - Door
- Glass - Windshield
- Glass & Hardware
- Glass & Hardware - Back
- Hardware, Fasteners & Fittings
- Hinge Pillar
- Hood & Components
- Inner Structure
- Instrument Panel
- Interior Trim - Door
- Interior Trim - Pillars
- Interior Trim - Quarter Panels
- Interior Trim - Rear Body
- Interior Trim - Roof
- Labels
- Lid & Components
- Lock & Hardware
- Outside Mirrors
- Quarter Panel
- Quarter Panel & Components
- Rear Body
- Rear Door
- Rear Floor & Rails
- Rear Seat Components
- Reveal Moldings
- Rocker Panel
- Roof & Components
- Seat Belt
- Sound System
- Spoiler
- Structural Components & Rails
- Sunroof
- Tracks & Components
- Trunk
- Wiper & Washer Components
- ABS Components
- Air Bag Components
- Air Bag System
- Alternator
- Alternator/Generator & Related Components
- Antenna & Radio
- Anti-Theft Components
- Battery
- Battery & Related Components
- Bulbs - Chassis
- Combination Tail Lamps
- Cruise Control System
- Distributor
- Door
- Electrical Components
- Flasher Units, Fuses, & Circuit Breakers
- Flashers
- Front Door
- Front Seat Belts
- Gauges
- Glass, Windows & Related Components
- Headlamp Components
- High Mounted Stop Lamp
- Horn
- Ignition Lock
- Ignition System
- Instruments & Gauges
- License Lamps
- Power Outlets
- Powertrain Control
- Rear Seat Belts
- Relays
- Senders
- Sensors
- Signal Lamps
- Starter
- Starter & Related Components
- Switches
- Switches, Solenoids & Actuators
- Voltage Regulator
- Window Defroster
- Wipers
- A/C Accumulator/Receiver Drier
- A/C Clutch & Compressor
- A/C Condenser & Evaporator
- A/C Flow Restrictors
- Blower Motor & Fan
- Condenser Fan
- Condenser, Compressor & Lines
- Controls
- Evaporator Components
- Heater
- Heater Components
- Hoses & Pipes
- Motors, Core, Case & Related Components
- Switches & Sensors
- Switches, Solenoids & Actuators
- Bushings
- Hardware, Fasteners & Fittings
- Housing & Components
- P/S Pump & Hoses
- Power Steering Hoses, Pumps, & Related Components
- Pump & Hoses
- Shaft & Internal Components
- Shroud, Switches & Levers
- Steering Column
- Steering Gear & Linkage
- Steering Wheel
- Steering Wheel & Trim
- Steering, Gear & Related Components
No.
Part # / Description / Price
Price
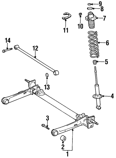
1
2
Axle Beam Bushing
Toyota
Toyota Positions: Right
Notes: PARTS: Part is included in axle assembly.
Description: Tercel. Paseo.
MSRP $98.29
$67.60
MSRP $98.29
$67.60
4
5
7
9
MSRP $2.64
$1.83
10
MSRP $1.82
$1.25
11
No.
Part # / Description / Price
Price
5
MSRP $65.02
$45.74
6
7
MSRP $98.29
$67.60
Related Parts
Part # / Description / Price
Price
Wheel Bearing
Toyota
Toyota Positions: Rear outer
Description: Corolla. Outer. Tercel. Starlet.
MSRP $48.73
$33.68
MSRP $48.73
$33.68

